RSSNewsFeeder
Member

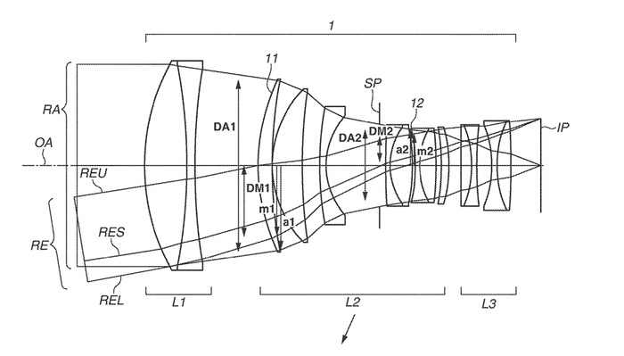
Canon has been releasing some mightily impressive lenses ever since they first dipped their toes into the professional mirrorless market, and it looks like they are showing no signs of stopping. The company recently filed patents for three new lenses, with one of them being yet another that pushes the boundaries of design.
[ Read More ]
Continue reading...